SONY CORPORATION

DDU 220E/H

Device Type

External DVD-ROM

Interface

IDE(AT)

Spin Rate (Read)

5x (DVD), 24x (CD-ROM)

Formats Supported Read

CD-Audio, CD-XA, CD-I, CD-ROM (Mode 1), Photo-CD, Video CD, CD-Plus, CD-RW, CD-Text, DVD Video, DVD-ROM, DVD-R

View

Top

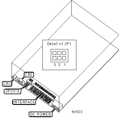
CONNECTIONS

Function

Label

Function

Label

Reserved

CN1

Audio line out

CN2

MASTER/SLAVE SELECTION

Setting

JP1/1

JP1/2

JP1/3

»

Master in two drive system

Closed

Open

Open

 

Slave in two drive system

Open

Closed

Open

 

Master/Slave determined by cable select

Open

Open

Closed