SIEMENS NIXDORF
H395, H404, H405, H409
|
Device Type |
Internal CD-ROM |
|
Interface |
IDE(AT) |
|
Spin Rate (Read) |
32x |
|
Formats Supported Read |
CD-XA, CD-R, CD-RW, CD-I, CD-ROM (Mode 1 & Mode 2), CD-Extra, ISO 9660, Photo-CD, Video CD, Red & Yellow Book, CD-Plus, Multi-session |
|
View |
Top |
|
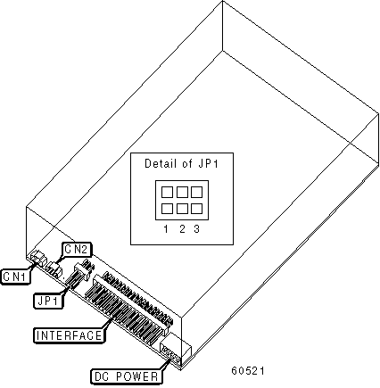
CONNECTIONS | |||
|
Function |
Label |
Function |
Label |
|
Digital audio line out |
CN1 |
Audio line out |
CN2 |
|
MASTER/SLAVE SELECTION | |||
|
Setting |
JP1/1 |
JP1/2 |
JP1/3 |
|
Master in two drive system |
Open |
Open |
Closed |
|
Slave in two drive system |
Open |
Closed |
Open |
|
Master/slave determined by cable select |
Closed |
Open |
Open |