CREATIVE LABS, INC.

DVD CD-ROM (DVD2240E)

Device Type

Internal DVD CD-ROM

Interface

ATAPI

Spin Rate (Read)

20x

Formats Supported Read

CD-XA, CD-R, CD-I, CD-ROM (Mode 1 & Mode 2), Photo-CD, Video CD, CD-Plus, CD-RW, CD-DA

View

Top

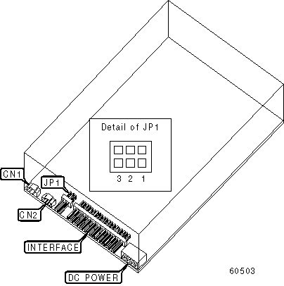
CONNECTIONS

Function

Label

Function

Label

Digital audio line out

CN1

Audio line out

CN2

ATAPI MASTER/SLAVE

Setting

JP1/1

JP1/2

JP1/3

Master in two drive system

Closed

Open

Open

Slave in two drive system

Open

Closed

Open

Master/slave determined by cable select

Open

Open

Closed